hassmfg.com
Home |  About |  Help |  Shopping Cart
Search:  

ECV Owner's Manual
Version 3.0, August 1998

CONTENTS

INSTALLATION
OPERATION
MAINTENANCE AND REPAIR
TROUBLESHOOTING


INSTALLATION


Mechanical Connections

Connect the ECV to your pipes by screwing the pipes into the unit. If you use Teflon tape, make sure there are no loose pieces in the fluid stream. Use unions when possible for easy removal for maintenance or repair. Use hangers to support the weight of the unit and to eliminate stress on your pipes. The direction of fluid flow should match the arrows stamped on the side of the ECV valve body.

Electrical Connections

Wire Color

Function
White (A) 4-20mA or 1-5VDC
Black (B) 4-20mA or 1-5VDC return
Red (C) 12 to 24 VDC power
Red/White (D) Common
Green (E) Open Full input, dry contact closure
Green/White (F) Close Full input, dry contact closure
Blue (G) Common for Open and Close inputs

Move Jumper JP2 from left two pins to right two pins to switch from 4-20 mA to 1-5 VDC control signal. This disconnects the 250 Ohm resistor and engages a 3300 Ohm resistor.

OPERATION

The ECV closes on power-up. If closed, the motor will stall. This is normal. It then opens to the position governed by the switch settings shown below.

Switch

Function
1 - Close ON - Close full. 50% if Switch 2 also ON.
OFF - nothing.
2 - Open ON - Open full. 50% if Switch 1 also ON.
OFF - nothing.
3 - Filter ON - Noise filter engaged.
OFF - Noise filter disengaged.
4 - DDR ON - Reverses action of Switches 1 and 2.
OFF - nothing.
5 - Fail ON - Fail closed on loss of signal.
OFF - Fail open on loss of signal.
6 - Range Active if Switch 7 is OFF.
ON - Selects hi range. 12-20 mA or 3-5 VDC.
OFF - Selects low range. 4-12 mA or 1-3 VDC.
7 - Split ON - Full range. 4-20 mA or 1-5 VDC.
OFF - Split range. See Switch 6.
8 - ADR ON - Reverse action. Large control signal causes valve to close.
OFF - Direct action. Small control signal causes valve to close.


MAINTENANCE AND REPAIR

Seat seal replacement

The seat seal and plunger are replaced as a unit called the plunger assembly. When replacing the plunger assembly, replace the stem seal O-rings. Rebuilding kits are available from HMC. The ECV must be disassembled to replace the seat seals.

Disconnect the ECV from the power supply. Remove the cover. Remove the 3/4-16 jam nut (1 1/8” wrench). Lift the motor, bracket and plate assembly off the valve. The coupling will separate.

Remove the bonnet-stem assembly. Hold the stem to keep it from rotating. Unscrew the plunger assembly from the stem. This is a left hand thread. Loosen the set screws holding the coupling to the stem. Slide stem out of bonnet. Thoroughly clean all parts. Discard stem o-ring.

Replace o-ring with new one. Lubricate o-ring and stem with silicone-based clear o-ring lubricant. Lubricate stem threads and outside of plunger with an anti-sieze lubricant compatible with your process fluid. Reassemble in reverse order of disassembly.

NOTE: Make sure seat seal is not seated when tightening bonnet!

 

LIMITED WARRANTY

Hass Manufacturing Company (HMC) warrants the Electronic Control Valve against defects in materials and workmanship for a period of Five (5) years from the date of original retail purchase. If you discover a defect, HMC will, at its option, repair, replace, or refund the purchase price of the product at no charge to you, provided you return it during the warranty period, transportation prepaid, to HMC. Prior to returning the product for warranty consideration, call Hass Manufacturing Company at (518) 674-8151 for a return authorization number and shipping instructions.

This warranty does not apply if the product has been damaged by accident, misuse, abuse or misapplication, has been modified, or if any serial number has been removed or defaced.

COPYRIGHTS AND PATENTS

This manual, computer programming, printed circuit board designs, and product design are copyrighted by Hass Manufacturing Company, with all rights reserved. A patent is currently pending.

FURTHER INFORMATION

Please contact us if you have any questions or comments regarding our products. You can view all of our product data sheets, as well as owner’s manuals, price lists and new product information at our web site, www.hassmfg.com.

Product
Rebuild Kit Part Number
ECV250B, ECV250SS, 303ss 10842
ECV250-316SS 10854
ECV312B, ECV312SS, 303ss 10741
ECV312-316SS 10855
ECV375B, ECV375SS, 303ss 10841
ECV375-316SS 10856
ECV500B, ECV500SS, 303ss 10852
ECV500-316SS 10857
ECV750B, ECV750SS, 303ss 10853
ECV750-316SS 10858

Figure 1. Rebuild Kits. Kits include: plunger assembly, stem, TFE washer, bonnet-body O-ring, bonnet-stem O-ring, bonnet-stem O-ring, and silicone O-ring lubricant.

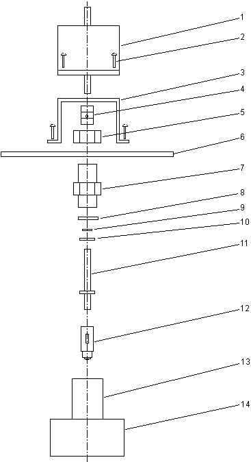
Figure 2. ECV Exploded Diagram

Ref. Name Part Number
ECV250 ECV312 ECV375 ECV500
1044
Brass
1045
303SS
1076
316SS
1052
Brass
1059
303SS
1077
316SS
1046
Brass
1047
303SS
1078
316SS
1067
Brass
1068
303SS
1079
316SS
1 Motor 10003
2 Screw 10413
3 Platform 10389
4 Coupling 10009
5 Nut 10011
6 Plate 10498
7 Bonnet 10568A 10568C 10568B 10568A 10568C 10568B 10559A 10559C 10559B 10559A 10559C 10559B
8 Bonnet-Body
O-ring
10014 EPR
10014N Neoprene
10323 EPR
10323N Neoprene
9 Stem O-ring 10015 EPR
10015N neoprene
10 TFE Stem Washer 10016 10324
11 Stem 10017C 10017B 10017C 10017B 10325C 10325B 10325C 10325B
12 Plunger Assembly 10093C 10093B 10625C 10625B 10326C 10326B 10462C 10462B
13 Plunger Guide 10385A 10385C 10385B 10385A 10385C 10385B 10386A 10386C 10386B 10520A 10520C 10520B
 14 Body 10383A 10383C 10383B 10523A 10523C 10523B 10384A 10384C 10384B 10591A 10591C 10591B

Ref. Name Part Number
ECV750
1080
Brass
1081
303SS
1082
316SS
1 Motor 10535
2 Screw 10629
3 Platform 10600
4 Coupling 10536
5 Nut 10510
6 Plate 10605
7 Bonnet 10607A 10607C 10607C
8 Bonnet-Body
O-ring
10323 EPR
10323N Neoprene
9 Stem O-ring 10347 EPR
10347N Neoprene
10 TFE Stem Washer 10466 (2)
11 Stem 10608C 10608B
12 Plunger Assembly 10627C 10627B
13 Plunger Guide 10482A 10482C 10482B
 14 Body 10621A 10621C 10621B

Figure 3. Part Number Reference Table.

 

TROUBLESHOOTING

 Symptom Cause What to do
Valve does not open and makes stuttering noise Valve was over tightened by hand Loosen by hand, close gently
Nothing happens at all Power cords not connected Check cables
Fuses blown Replace fuses
Power off Turn on
Valve does not shut off fluid flow tightly Obstruction between seat seal and seat Back flush valve or open valve and remove obstruction
  Worn out seat seal Replace seat seal
Process fluid leaks out of the weep hole in bonnet O-ring failure Replace O-ring
Valve does not follow control signal Noisy control signal Turn off noise filter (Switch 3)
Valve does not follow control signal and dithers Floating control signal Connect Black and Red/White wires

Figure 4. Troubleshooting Table.

Home |  About |  Help |  Shopping Cart


Hass Manufacturing Company
371 NY Highway 351, Averill Park, New York 12018 U.S.A.
Tel (518) 674-8151  Fax (518) 674-8157