|
Version 1.0, November 1998 CONTENTS INSTALLATION Mechanical Connections Connect the EPV to your pipes by screwing the pipes into the unit. If you use Teflon tape, make sure there are no loose pieces in the fluid stream. Use unions when possible for easy removal for maintenance or repair. Use hangers to support the weight of the unit and to eliminate stress on your pipes. The direction of fluid flow should match the arrows stamped on the side of the EPV valve body. Electrical Connections
Move Jumper JP2 to top 2 pins to switch from 4-20 mA to 1-5 VDC control signal. This disconnects the 250 Ohm resistor. NOTE: Connect Black and Red/White when using optically isolated 4-20 mA current sources, such as Allen-Bradley PLCs. The EPV closes on power-up. If closed, the motor will stall. This is normal. Jumpers control speed, number of turns, and 4-20mA / 1-5VDC modes. Store jumper on one pin of header for future use. Jumpers operate as follows.
NOTE: Power must be off when changing jumpers. Seat seal replacement The seat seal and plunger are replaced as a unit called the plunger assembly. When replacing the plunger assembly, replace the stem seal O-rings. Rebuilding kits are available from HMC. The EPV must be disassembled to replace the seat seals. Disconnect the EPV from the power supply. Remove the cover. Remove the 3/4-16 jam nut (1 1/8 wrench). Lift the motor and platform assembly off the valve. The coupling will separate. Remove the bonnet-stem assembly. Hold the stem to keep it from rotating. Unscrew the plunger assembly from the stem. This is a left hand thread. Loosen the set screws holding the coupling to the stem. Slide stem out of bonnet. Thoroughly clean all parts. Discard stem o-ring. Replace o-ring with new one. Lubricate o-ring and stem with silicone-based clear o-ring lubricant. Lubricate stem threads and outside of plunger with an anti-sieze lubricant compatible with your process fluid. Reassemble in reverse order of disassembly. NOTE: Make sure seat seal is not seated when tightening bonnet! LIMITED WARRANTY Hass Manufacturing Company (HMC) warrants the Electronic Control Valve against defects in materials and workmanship for a period of Five (5) years from the date of original retail purchase. If you discover a defect, HMC will, at its option, repair, replace, or refund the purchase price of the product at no charge to you, provided you return it during the warranty period, transportation prepaid, to HMC. Prior to returning the product for warranty consideration, call Hass Manufacturing Company at (518) 674-8151 for a return authorization number and shipping instructions. This warranty does not apply if the product has been damaged by accident, misuse, abuse or misapplication, has been modified, or if any serial number has been removed or defaced. COPYRIGHTS AND PATENTS This manual, computer programming, printed circuit board designs, and product design are copyrighted by Hass Manufacturing Company, with all rights reserved. A patent is currently pending. FURTHER INFORMATION Please contact us if you have any questions or comments regarding our products. You can view all of our product data sheets, as well as owners manuals, price lists and new product information at our web site, www.hassmfg.com.
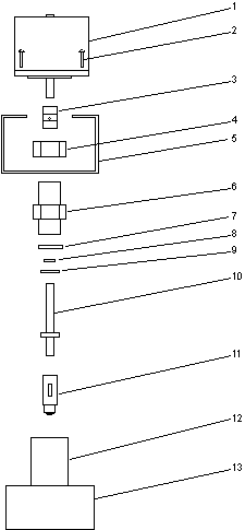
Figure 1. Rebuild Kits. Kits include: plunger assembly, stem, TFE washer, bonnet-body O-ring, bonnet-stem O-ring, bonnet-stem O-ring, and silicone O-ring lubricant. ![]() Figure 2. EPV Exploded Diagram
Figure 3. Part Number Reference Table.
Figure 4. Troubleshooting Table. |
||||||||||||||||||||||||||||||||||||||||||||||||||||||||||||||||||||||||||||||||||||||||||||||||||||||||||||||||||||||||||||||||||||||||||||||||||||||||||||||||||||||||||||||||||||||||||||||||||||||||||||||||||||||||||||||||||||||||||||||||||||||||||||